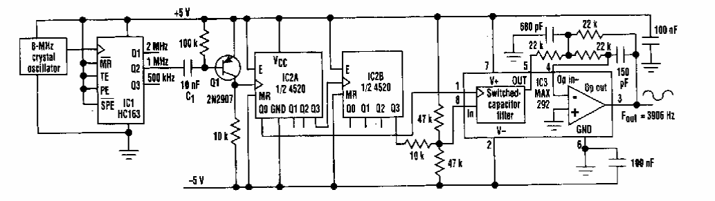
Found in an Electronic Design from the 1990s, this circuit generates signals from 500 kHz to 1 MHz that are digitally synthesized to provide a sinusoidal output.
March 2017 - The new ERB-RD, ERB-RE and ERB-RG fuses from Panasonic's Micro Chip Fuses can now be...
Constant currents from 10 mA to 1 A can supply the load, depending on the selection made by S1. Q1...
The optocoupler in the figure uses common transistors and a phototransistor to drive a sensitive relay...