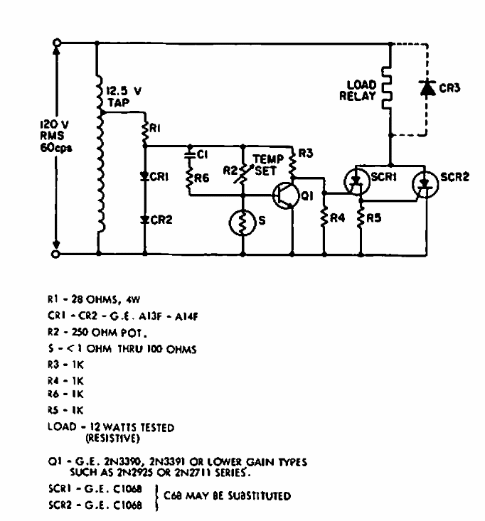
This circuit for heating elements was taken from a 1966 General Electric manual. The SCRs are load-according, and the sensor is 1 ohm.
This circuit is from an American documentation from 1975. The single junction transistors can be...
This circuit, suggested by the Linear Applications Handbook of National Semiconductor, uses a very...
This circuit divides the voltage of a source by 2, allowing its use as a symmetrical source. In...