This circuit was obtained from an old American documentation, and practically any general-purpose transistor and sensitive relay can be used according to the supply voltage.
This simple transistor tester uses a common 3 mA analog instrument that has its scale changed as...
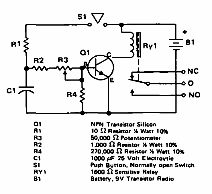
This circuit was obtained from an English publication from the 70's. The circuit is still current for...
This commercial circuit N-101 was obtained in a Japanese publication from 1971. It is a typical...