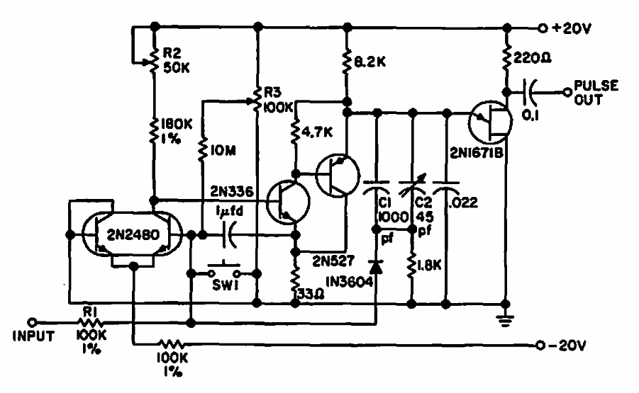
This circuit was obtained from a General Electric publication from the 1960s. The transistors are from the time and the circuit produces a 1 kHz signal with 1 V input.
This circuit is from the 80's integrated circuit manual itself. The component is not as common today...
This circuit has been found in an old documentation and therefore uses a lamp as an indicator. In a...
This circuit generates a tone of a bell and can be used in this type of application. The circuit is...