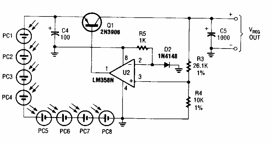
The circuit is from an Electronics Hobbyst Handbook from the 90s, being valid for panels of the time, with lower performance. The circuit supplies 2.4V with 125mA current.
This circuit is from the 80's integrated circuit manual itself. The component is not as common today...
This circuit has been found in an old documentation and therefore uses a lamp as an indicator. In a...
This circuit generates a tone of a bell and can be used in this type of application. The circuit is...