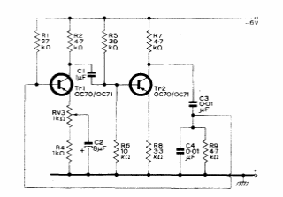
This Wein bridge oscillator provides a sinusoidal 3 to 4 kHz signal. The circuit was found in a 1960s Mullard manual. The transistors are from the period.

This Wein bridge oscillator provides a sinusoidal 3 to 4 kHz signal. The circuit was found in a 1960s Mullard manual. The transistors are from the period.
