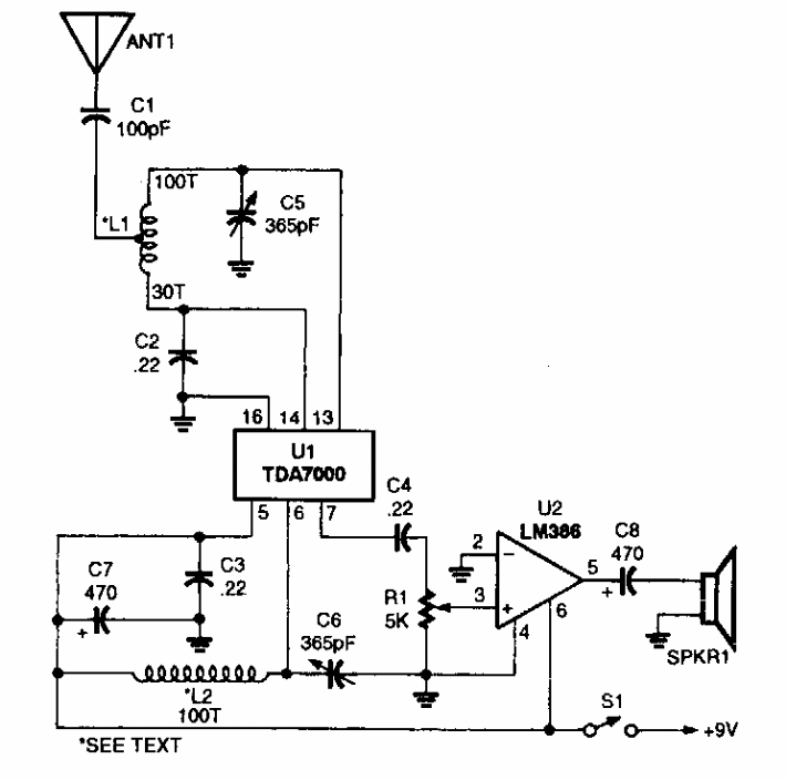
This simple radio was found in a Popular Electronics from the 90s. L1 and L2 have 100 turns on a toroidal core and L1 have a socket on the thirtieth turn.
This 1992 circuit operates in the range of cordless phones used at the time. The circuit is based...
This different circuit uses a relay as an oscillator, whose frequency is determined by C1, and to...
This antenna or booster amplifier operates with signals from the midband (MW) range up to the VHF...