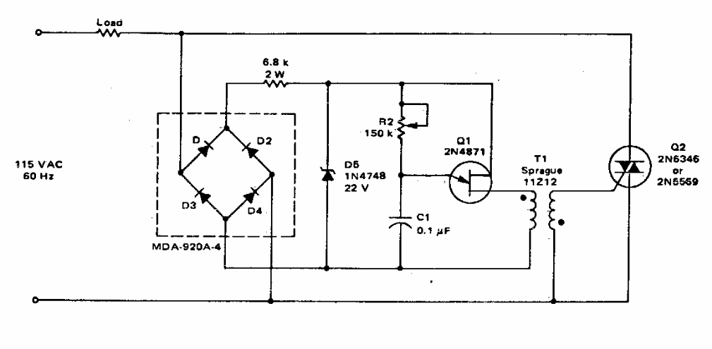
Found in documentation from the 1970s, this circuit for resistive loads uses a trigger transformer. The components support modern equivalents.
Found in an old Elektor, this circuit uses two 7-segment displays to indicate the volume of an...
Found in American documentation from the 1980s, this circuit prolongs the ringing of a doorbell or chime...
This amplifier stage, obtained in a 1980 publication, has a low input impedance and a high output...