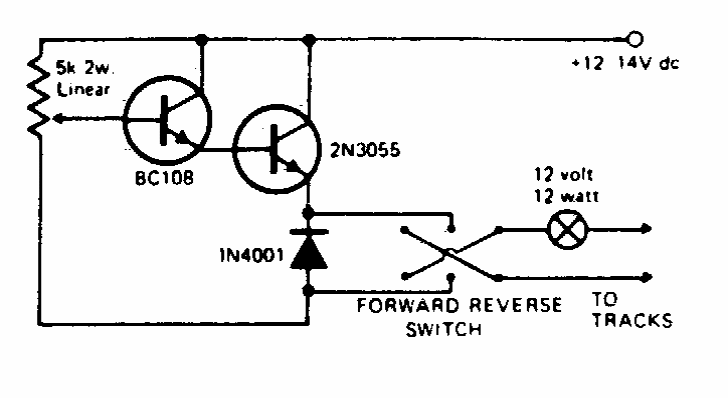
This circuit uses a wire potentiometer, but the current is much more intense in the control thanks to the 2N3055 which must be mounted on a heat sink.
This configuration for switching signals uses only common general-purpose diodes such as 1N4148. The...
This digital electronic game circuit was found in a 1982 publication. It randomly draws the...
This version works in the opposite way to the previous one, activating when the light falls on the...