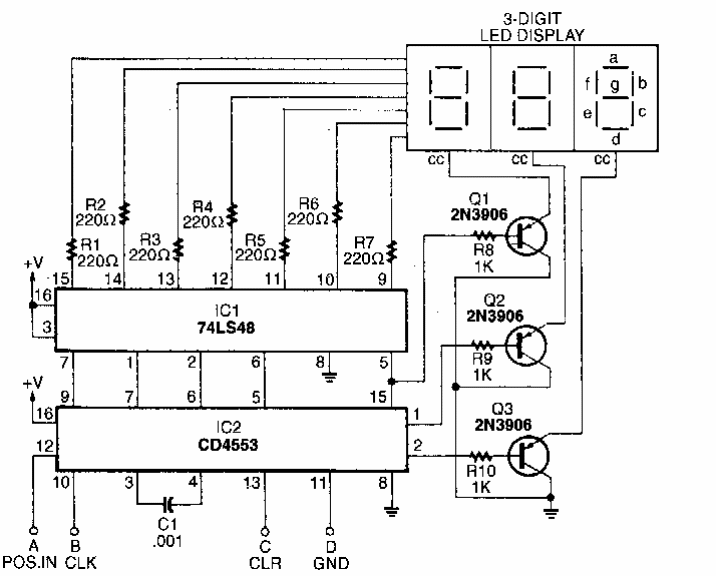
This circuit was found in an Electronics Now from the 80's. The circuit is designed for 3-digit displays. The circuit is TTL.
This configuration for switching signals uses only common general-purpose diodes such as 1N4148. The...
This digital electronic game circuit was found in a 1982 publication. It randomly draws the...
This version works in the opposite way to the previous one, activating when the light falls on the...