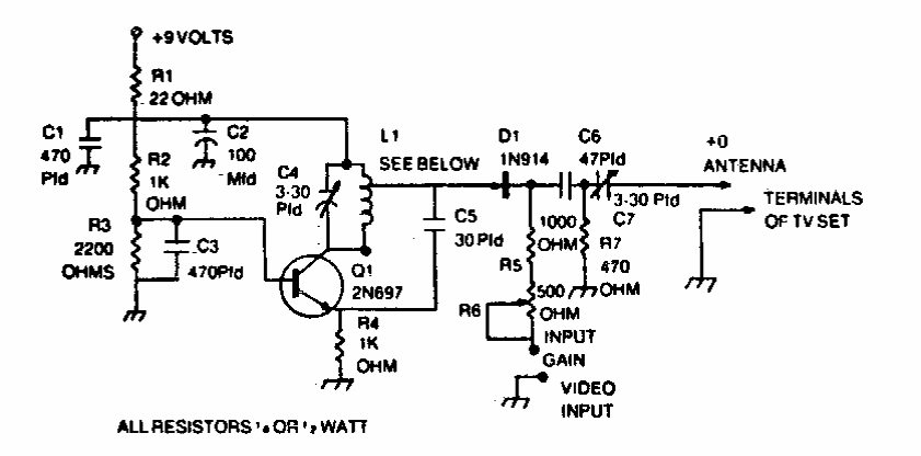
This circuit was found in documentation from the 1970s. The transistor supports modern equivalents. L1 with C4 determines the frequency range of the signals that will be produced.
This configuration for switching signals uses only common general-purpose diodes such as 1N4148. The...
This digital electronic game circuit was found in a 1982 publication. It randomly draws the...
This version works in the opposite way to the previous one, activating when the light falls on the...