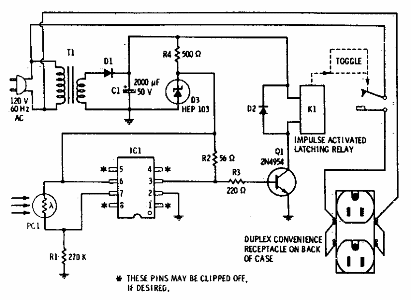
This circuit was found in an American documentation from the 90s. It consists of an optical memory to control an AC load. The relay depends on the voltage of the transformer, which can be between 6 and 12 V.
This circuit was found in an American documentation from the 90s. It consists of an optical memory to control an AC load. The relay depends on the voltage of the transformer, which can be between 6 and 12 V.