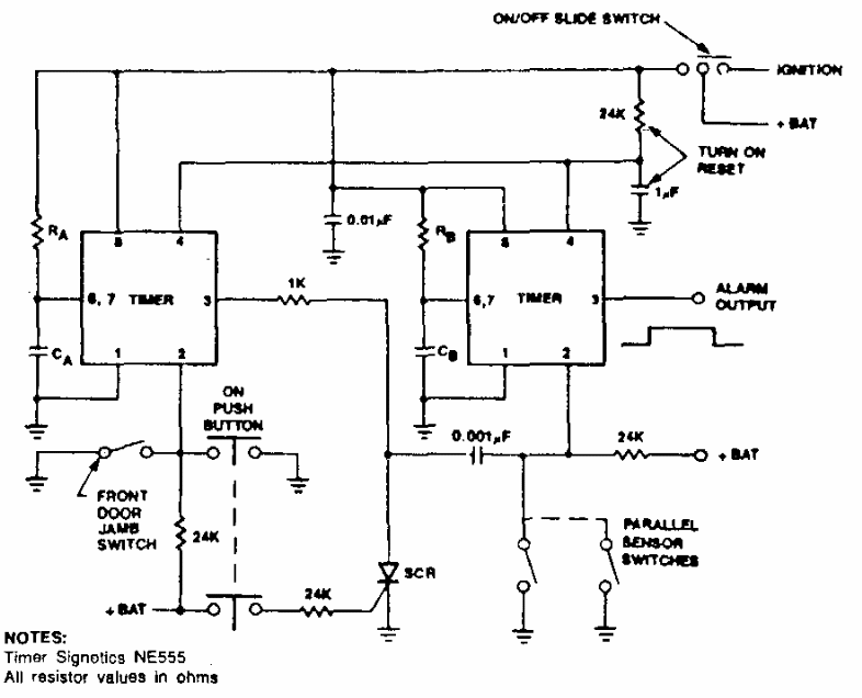
This car alarm was obtained in a Signetics documentation from the 1980s. The circuit uses the 555 and has a pulsed output to activate a relay that controls the horn. The sensors are parallel connected.
This circuit was found in documentation from the 1980s. It is powered by the audio signal that must...
Damped oscillators can be used to produce sound from percussion instruments such as the triangle, bell,...
Found in Radio Electronics from the 90s, this circuit produces pulses to test an infrared...