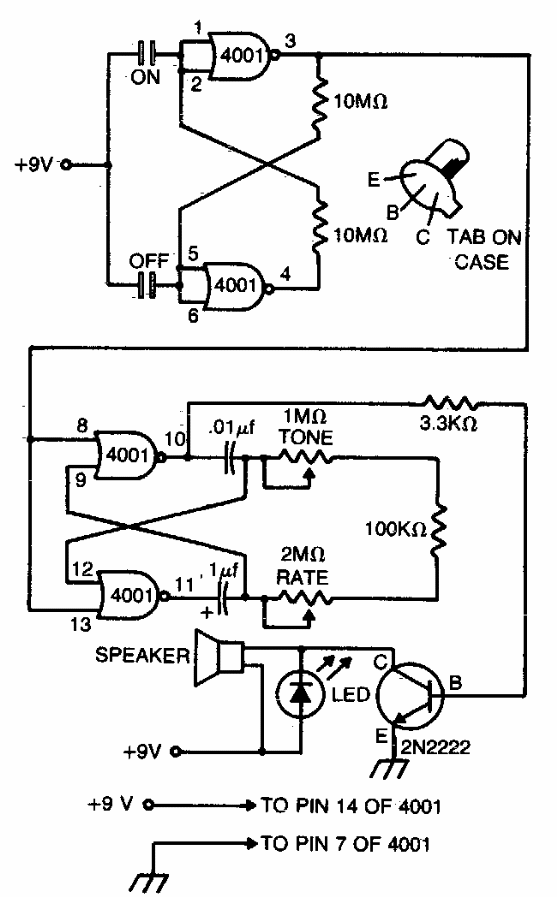
This simple CMOS metronome circuit can be mounted in a small box, providing both sound and light sources.
This circuit was found in documentation from the 1980s. It is powered by the audio signal that must...
Damped oscillators can be used to produce sound from percussion instruments such as the triangle, bell,...
Found in Radio Electronics from the 90s, this circuit produces pulses to test an infrared...