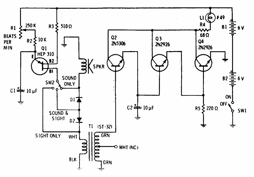
This circuit with its light source was found in American documentation two years 70. Or transformer of the type found in small transistor radios of the time. The transistors are general-purpose.
The trip circuit for this alarm is given in CB16765E. The circuit uses common components and acts...
This circuit is from an old American publication from 1970, but it can be assembled with a BF494...
This circuit found in 1969 Popular Electronics is used to power a gas laser. The circuit produces...