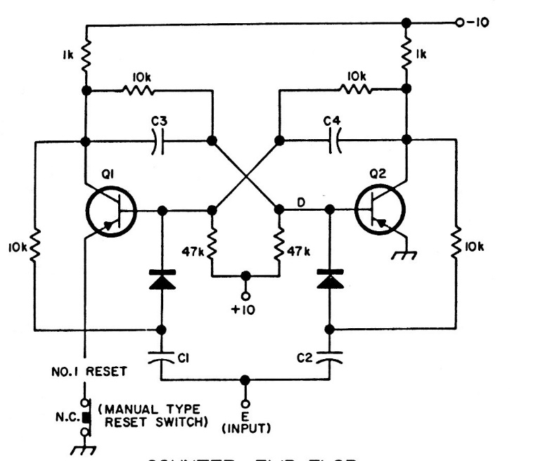
This flip-flop circuit with general purpose transistors was found in American documentation from the 1980s. The maximum operating speed depends on the transistors. Diodes are commonly used.
Two 3-terminal regulators like the LM317 can be used to "clip" a sinusoidal signal, in order to...
This 7400 TTL circuit has a memory, keeping the LED on when a pulse is detected. The circuit must be...
This sole beacon which has a battery charged by photocells was found in documentation from 1991....