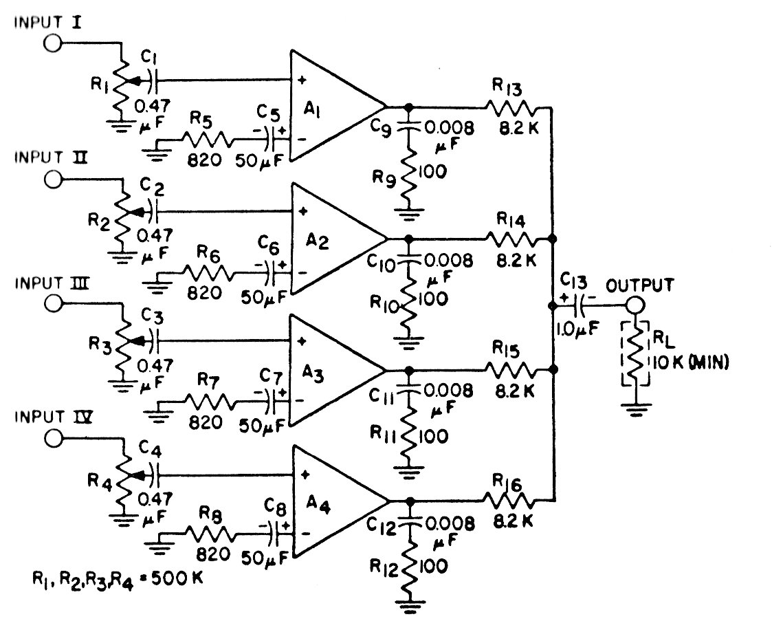
This circuit uses a quadruple operational amplifier of the time. The circuit is from the 70s but can be implemented with modern operators that require the use of a symmetrical source.
The circuit presented is suggested by National Semiconductor in its Linear Applications Handbook. The...
In this application we show how to get tuning from 0 V to an LM350 regulator IC. The setting also...
This frequency corresponds to musical note C3. Frequency accuracy depends on the accuracy of the...