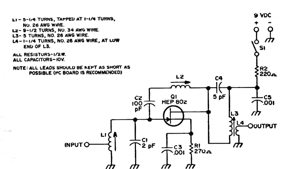
This amplifier for signals in the 2 m range that corresponds to 150 MHz was found in an American documentation from the 1980s. The FET can be a BF245.
The circuit presented is suggested by National Semiconductor in its Linear Applications Handbook. The...
In this application we show how to get tuning from 0 V to an LM350 regulator IC. The setting also...
This frequency corresponds to musical note C3. Frequency accuracy depends on the accuracy of the...