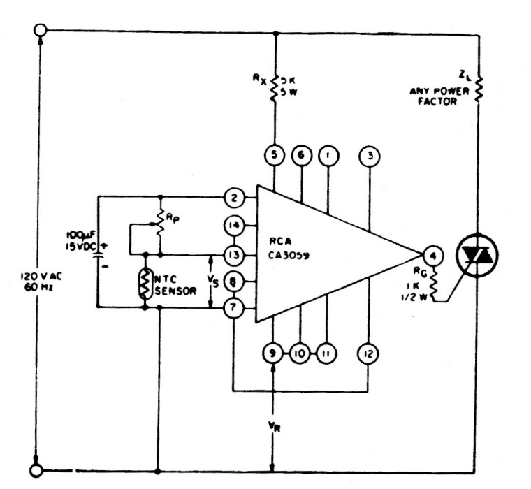
The load of this circuit depends on the triac and the integrated circuit used is uncommon today. The circuit is from 80s documentation. The triac must have a heat sink.
This circuit was obtained from a Hands-On Electronics, an American magazine from January 1987. The...
This receiver for listening to the TR-23 phone was manufactured in Japan in the 1960s. The circuit is...
This astable multivibrator with an operational one at the time was found in the National...