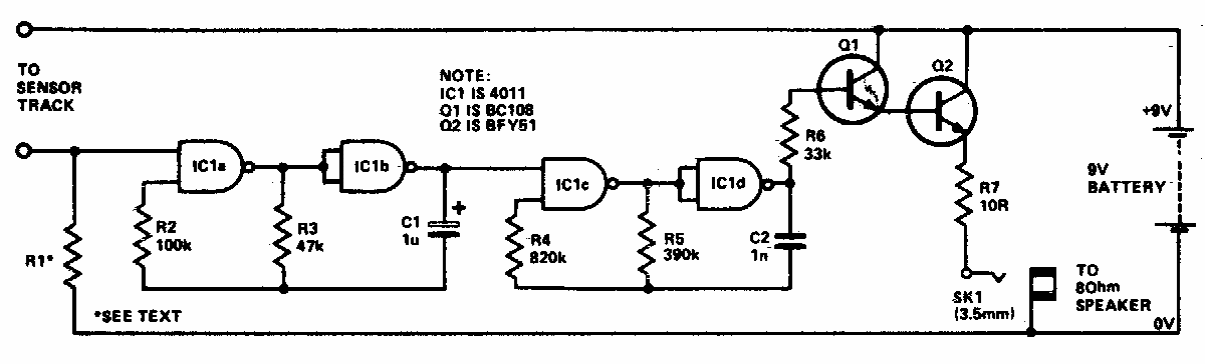
This simple rain, leak or moisture detector circuit appears in other places on this site with slight variations. This was obtained in an English documentation from the 70s.
With this circuit it is possible to monitor the charge and discharge of a battery. The circuit is...
Found in 90s Radio Electronics, this shield can control high voltage loads in the power grid....
The duration of the output pulse in this circuit depends on C. This capacitor can have values in...