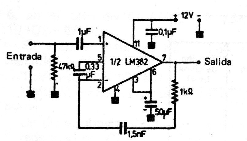
This circuit is from a 70s linear integrated manual. The integrated circuit used is uncommon today and one of the application's channels is shown. The power supply does not have to be symmetrical. We can find this configuration in other points of this site.




