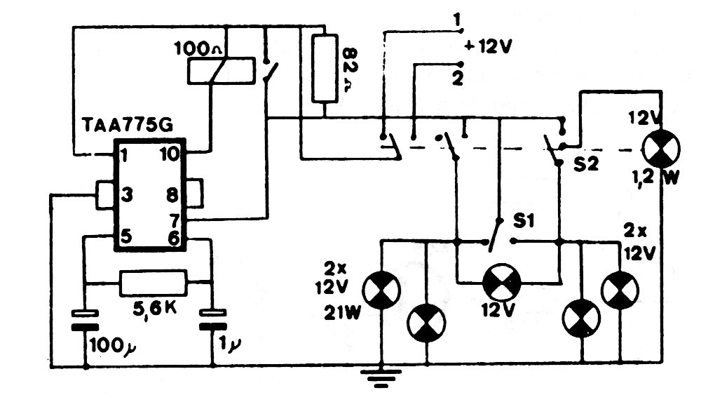
This circuit is suitable for automotive signaling applications. The integrated circuit is not common today. The circuit is from an 80's documentation.
This circuit stabilized by quartz crystal was found in a European documentation (France) from the...
Found in 90s Popular Electronics, this circuit fires an old camera flash of the type with a xenon...
In the figure we have an active high pass filter of 100 Hz, suggested by National Semiconductor in its 1994...