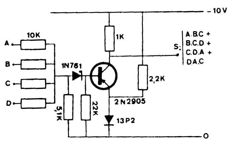
A dual function using common transistors and diodes can be implemented as shown in the figure below. The circuit can be powered by other voltages with changing values of the base and collector resistors.
A dual function using common transistors and diodes can be implemented as shown in the figure below. The circuit can be powered by other voltages with changing values of the base and collector resistors.