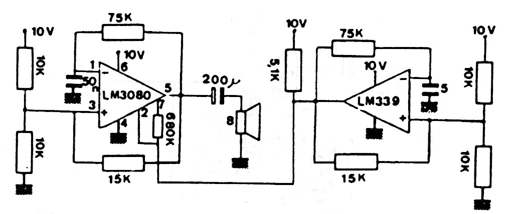
The two integrated circuits used in this configuration can still be found. The frequencies of the effects are determined by the capacitors, which may have their values changed.
Found in a 1967 Electronic Design, this circuit can detect pulses as narrow as 0.2 us. Active...
We found this circuit in the May 1970 issue of Radio Electronics magazine. The maximum frequency...
This flasher was found in the September 1984 Radio Electronics magazine. The frequency is given by...