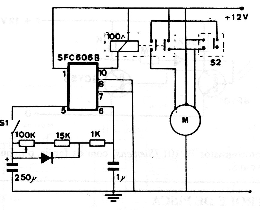
This circuit found in old documentation can be used on old cars that do not have this feature. The integrated circuit used is uncommon today.
This circuit has several features, such as timing to activate and deactivate, in addition to a...
The 4528 is a dual-retriggerable monostable that needs only the timing network formed by R and C...
This circuit from a 1978 American publication is used on vintage vehicles that still have contact...