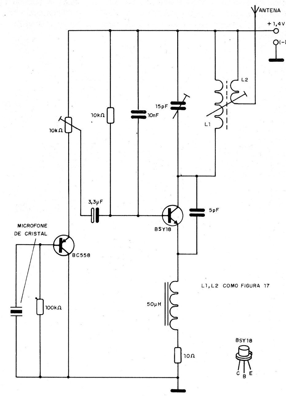
This transmitter operates with a voltage of only 1.4 V, and can then be powered by a single battery, even of the button type. The circuit is from 90's documentation and the coil can be like that of CB19425E. Transistors support equivalents.
This transmitter operates with a voltage of only 1.4 V, and can then be powered by a single battery, even of the button type. The circuit is from 90's documentation and the coil can be like that of CB19425E. Transistors support equivalents.