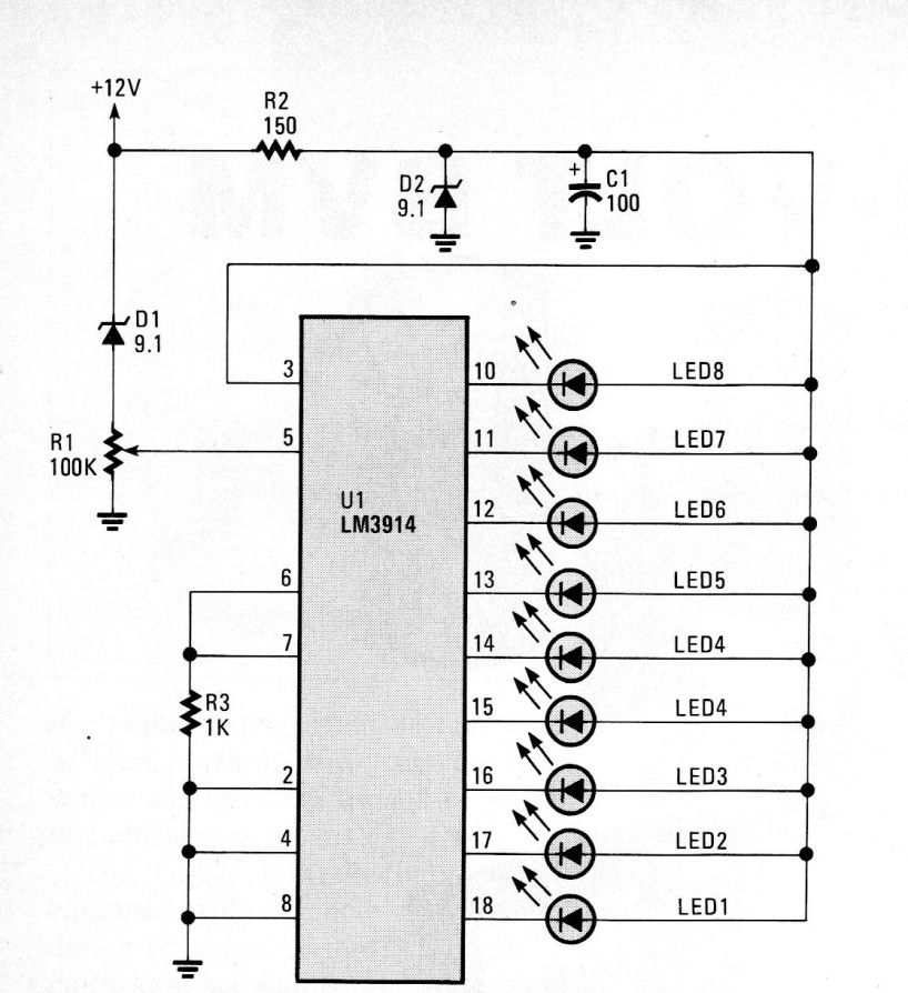
This circuit is from a 1988 American magazine, but it is still up to date due to the components it uses. It is a bargraph that is used to monitor 12 V batteries, but that can be adjusted to monitor other voltage ranges.
This circuit is from a 1988 American magazine, but it is still up to date due to the components it uses. It is a bargraph that is used to monitor 12 V batteries, but that can be adjusted to monitor other voltage ranges.