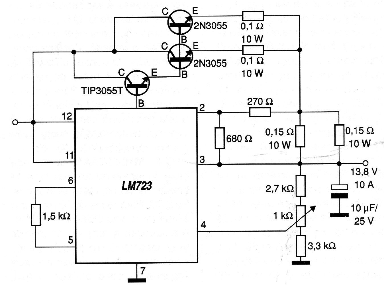
It is a 13.8 V x 10 A regulator obtained in a 2008 documentation. The 2N3055 transistors must be mounted in excellent heat sinks and the voltage is adjusted in the trimpot.
One of the most popular EPROM memories of the past is the 2716 2k x 8, whose pinout with practical use...
This circuit inverts the phase of an audio signal, maintaining its intensity. The transistors can...
In the figure we have a simple way to have a peak bargraph indicator. The amplifier is of the...