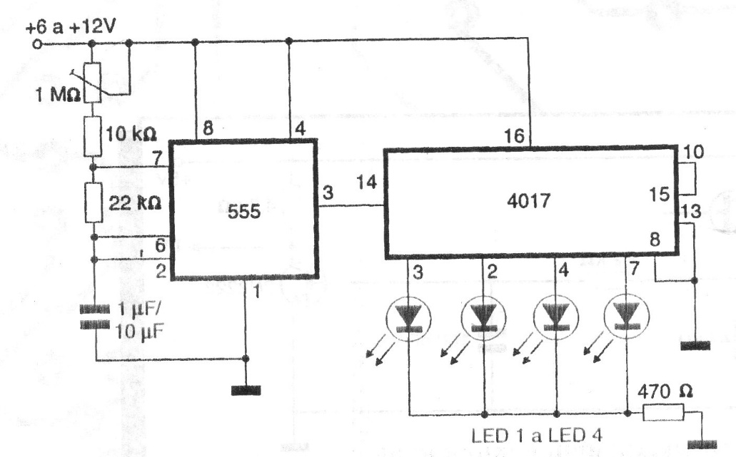
This conventional 4017 sequential circuit has appeared several times in our articles and on this website. This version is from 1997, and can be supplied with voltages from 5 to 12 V. An application is like a shield and the frequency of the effect discharge is adjusted in P1. Triggering by a microcontroller can be done from pin 4 with a total supply of 5 V.




