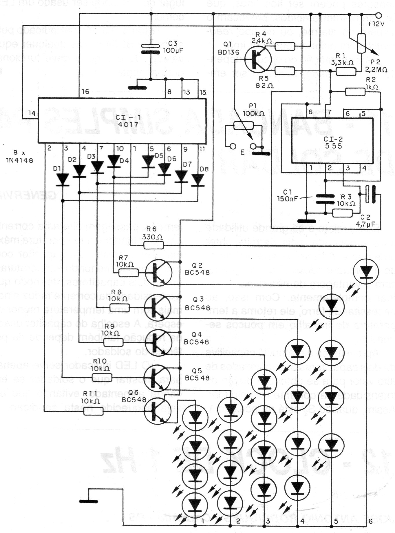
This effects circuit was found in a 1995 documentation. The circuit causes a sequence of LEDs to flash at a speed that varies with the audio signal applied to the input. The circuit is modulated by a 555 via an audio signal. The supply is made with a voltage of 12 V and the adjustments are frequency and depth of modulation.




