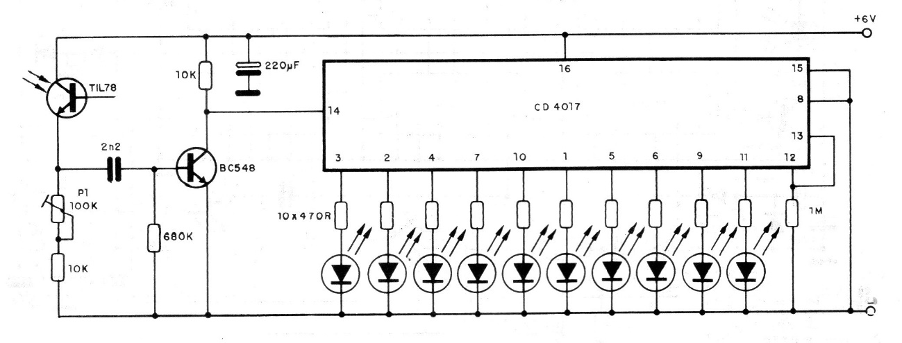
This circuit is the receiver for the CIR9984. It consists of a sequencer of 10 LEDs that is activated when the phototransistor receives a “shot” from the Laser pistol. This sensor must be placed in a tube in the center of the target. The sensitivity adjustment is done in the trimpot. The sensor must not receive ambient light directly.




