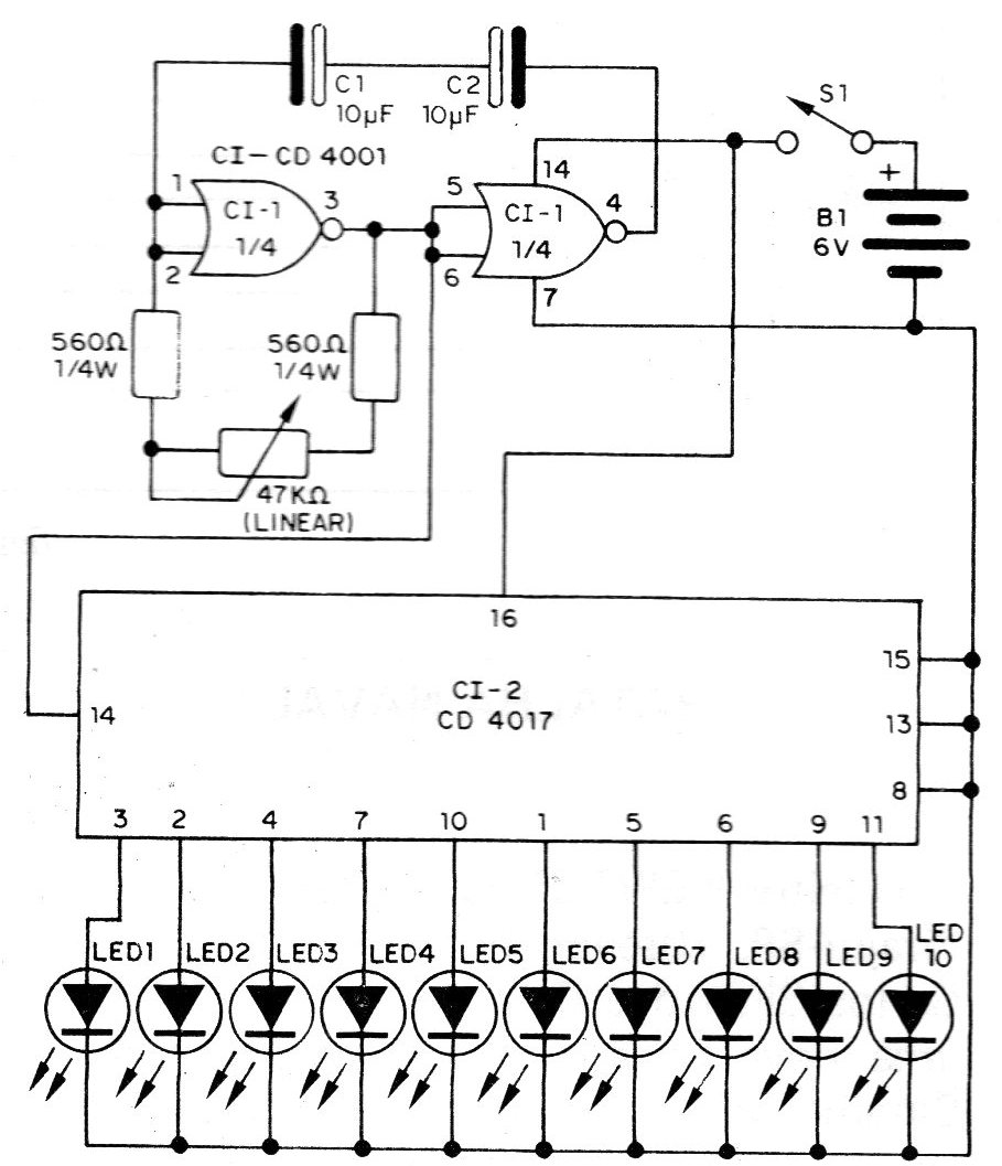
For fans of sequential systems, here is another one found in a 1983 publication. Two CMOS integrated circuits are used, as shown in the complete circuit shown in the figure. The first is used only by the "half", since two of its 4 ports are connected. This circuit can be the CD4001 or CD4011. The other is the already known 4017, which directly powers a set of 10 LEDs that will light up in sequence. The operating speed of the sequential system can be adjusted in the 47k potentiometer, but the range of action depends on the value of C1 and C2. wide range. The power is provided by a 6 V power supply that can be formed by 4 common batteries. The LEDs are low-cost common red, or any other type if the reader wants to "invest" more. It is important to note that LEDs should not be connected in parallel to the outputs, as the integrated could suffer overload with this. As two are integrated, the best assembly technique for this sequential system is the one that uses printed circuit boards.




