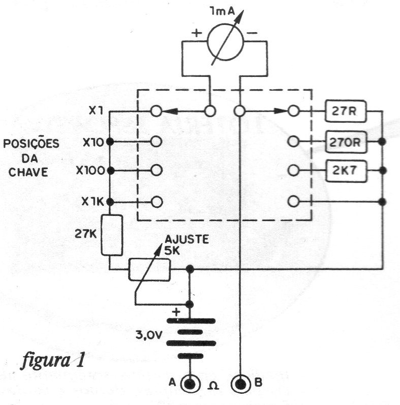
The assembly of a good multimeter meets only one obstacle: the precision that is obtained depends on the precision of the components used. For readers who do not have any instruments on their bench and are starting now, a tolerance of 5% or 10%, which is the tolerance of resistors commonly found in commerce, may be acceptable. If this is the case for the reader who does not have his own measuring instrument, why not do this assembly? The selector switch must be rotary bipolar with 4 or more positions, with only 4 positions being used. The resistors are all 1 / 2W and the adjustment pot is keyless. The instrument used is a 0-1 mA moving coil (readers can also try common VU-meters, with changes in component values). The instrument scale will be prepared as shown in the figure. The current scale will range from 0 to 1 mA, while the resistance scale will range from 0 to 2k, but in reverse. To draw the intermediate points on the resistance scale, proceed as follows:
First 0 is placed at the 1 mA equivalent site, and 2000 at the 0 mA equivalent site. Then, set the selector switch to the x1 ohm position, and reset the device, acting on the adjustment. Using resistors of values between 0 and 2000 ohms, connected between the probes, with a tolerance of 596 or less, keep writing your values on the scale. The author recommends using resistors of 5, 10, 20, 30, 40, 50, 100, 200, 300, 500 and 1000 ohms, because once these values are marked, the others can be easily deduced.




