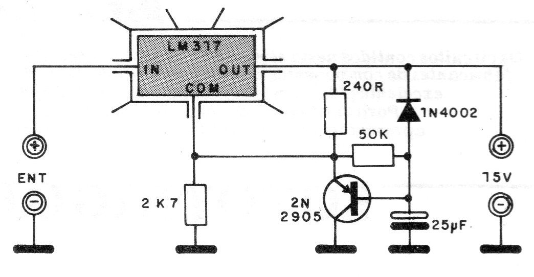
This circuit does not establish, immediately after connection, the voltage of 15 V in the load. The voltage rises slowly to 15V, time given by the 25 (22) uF capacitor. The integrated LM317 can operate with output voltages between 1.2 and 37 V and provides a maximum output current of 1.5 A. The 2N2905 transistor can be replaced by a general purpose PNP with collector current in the order of 500 mA.




