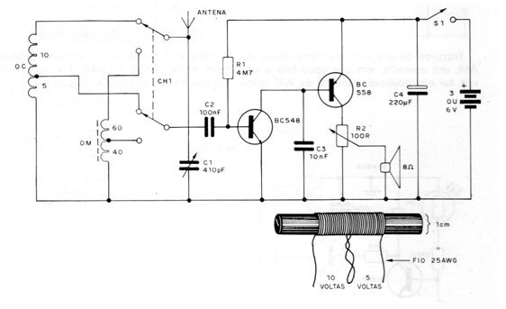
This circuit in a receiver that allows the capture of distant stations with short waves. The modification in relation to a 1-band receiver consists of adding a 2-pole x 2-position switch and a coil. This coil is wound onto the short-wave band having the following characteristics shown in the figure: 15 turns of wire 25 are wound with a socket on the fifth turn. This coil is made in a shape of approximately 1 cm in diameter without the need for a ferrite core. When connecting to the circuit, from the socket to the connection to the common negative of the supply, the 5 turns must remain. For good results, a long antenna should be used.




