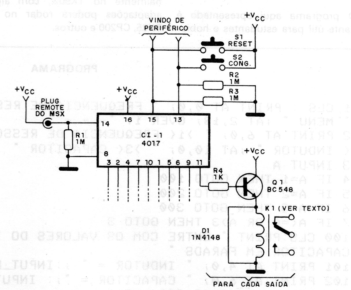
The circuit was originally designed to operate with MSX microcomputers in 1988 but can be used to function as a sequential shield with modern microcontrollers. The circuit is based on the 4017 and drives a 6 or 12 V relay depending on the power used for this sector. More relays can be added, connected to the corresponding outputs.




