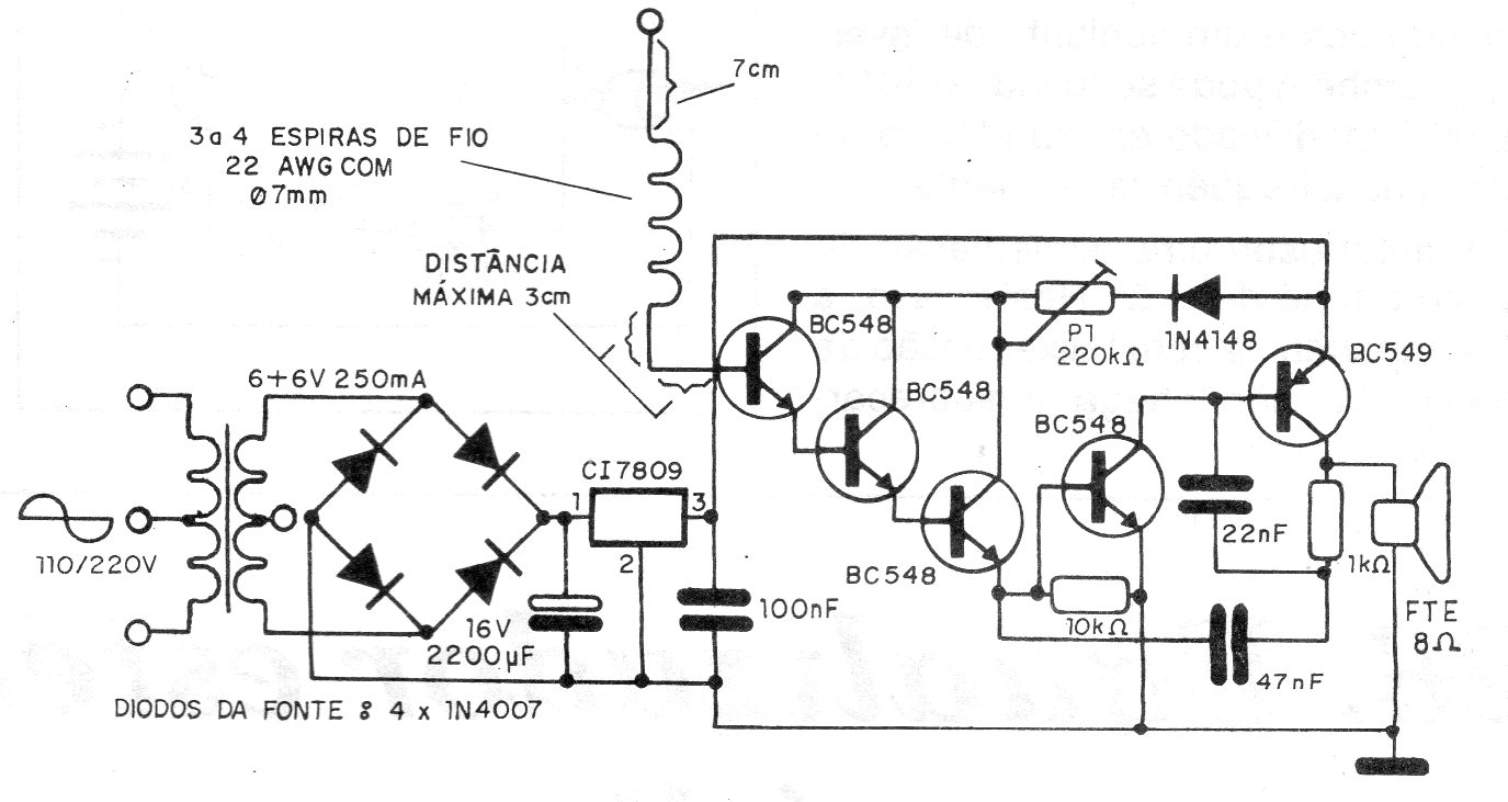
This sensitive electrostatic charge detector uses only common discrete components. The circuit can be used either as an alarm or as an electroscope. The sound produced when the load is detected can have its tone adjusted in a trimpot. The circuit is powered by a source connected to the power grid.




