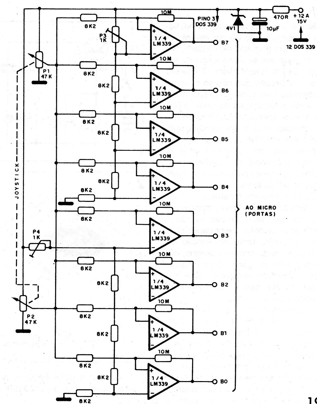
Two potentiometers mounted at right angles, so that they can be operated by a lever, form a very efficient joystick, and widely used in proportional remote-control systems for models, cars, and boats. If you have one of these joysticks, you can convert its operation from analog to digital with the circuit proposed in the figure. This circuit is based on two quadruple voltage comparators of the type LM339 or CA339 (see article on these components on the website), which provide stepped outputs in 4 potentiometer positions. These outputs can be divided into 4 ranges for each pot, according to the table given.





