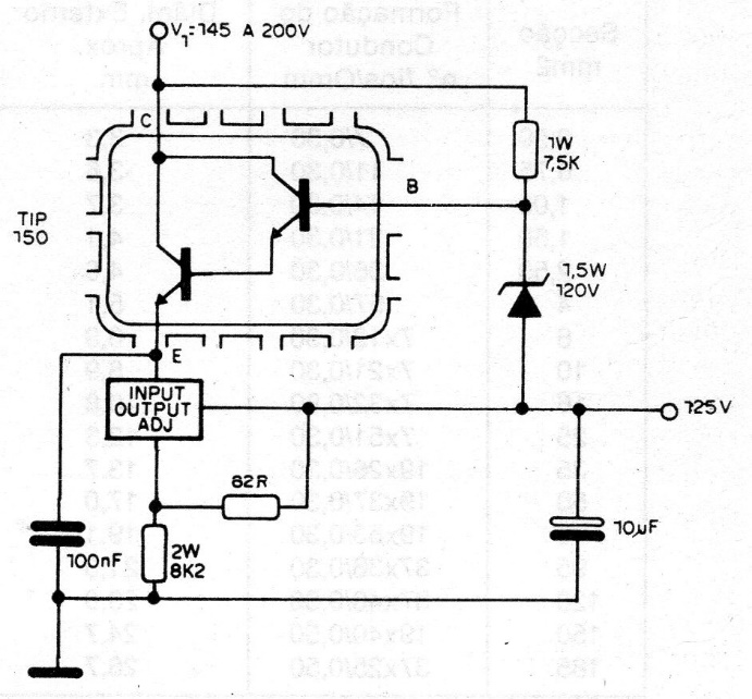
This circuit, indicated by Texas Instruments, uses a high voltage regulator and a Darlington also for high voltage. Its input can vary between 145 and 200 V, obtaining a fixed output of 125 V. The TIP150 transistor must be mounted in an appropriate heat radiator.




