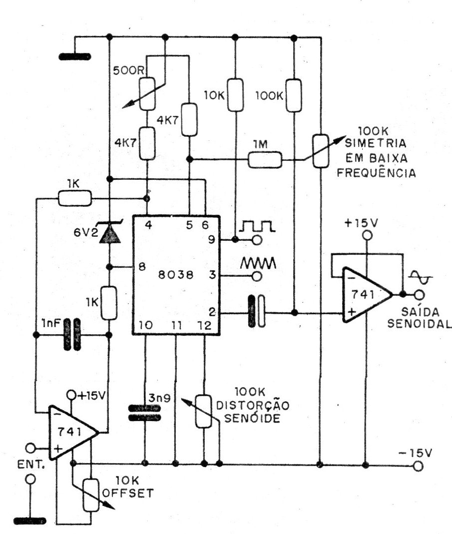
The 8038 is an integrated waveform generator (sinusoidal, triangular and rectangular) from Intersil that lends itself to numerous applications, as suggested below by the manufacturer's own manual. In this circuit we have a VCO (Voltage Controlled Oscillator) with excellent linearity that can be used in the audio range with a low distortion sinusoidal output obtained at the output of an operational as a voltage follower (unit gain). The supply must be made by a symmetrical source.




