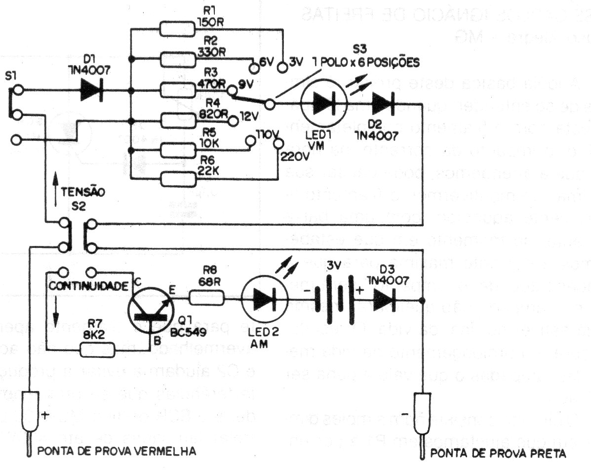
This sophisticated continuity tester with different sensitivity ranges was found in a 1990 publication. In it we have the possibility to select different LED indication ranges to operate with different test currents, depending on the component or circuit under test.




