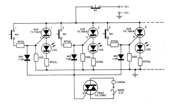
The project that we present below is very interesting, serving to identify remote calls such as in hospital rooms, schools, offices, or industries. The project, shown in the figure, has an unlimited number of channels and was found in a 1982 documentation. Its operation is as follows: in each remote location (hospital room, for example) a pressure switch is placed that is connected to a trigger module that takes a TIC106-B SCR as a basic element. When one of the pressure switches is activated, the corresponding SCR fires by lighting the LED indicator of the room or place from which the call comes. At the same time, a Triac that is connected to a bell or cicada is also fired making the audible call. When answering the call, press the normally closed pressure switch (NC) to turn off the trigger module and, therefore, reactivate the system. If other switches are activated at the same time, the corresponding SCR will still be triggered with the lighting of other LEDs on the indicative panel.




