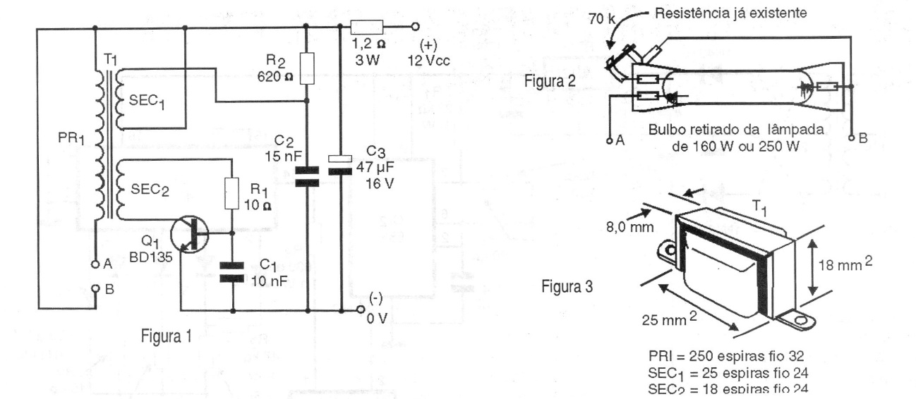
This simple inverter was found in a 1997 documentation. Its purpose is to apply a high voltage to a mixed lamp so that the gas inside it is ionized, producing a bluish light with a decorative effect. The circuit uses a homemade transformer that is detailed in the drawing.




