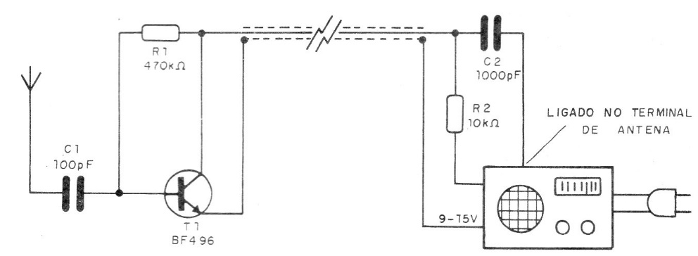
This simple aperiodic signal amplifier is powered by the batteries or source of the receiver with which to operate. It improves the reception of signals in the medium, short, and eventually FM waveband. The circuit is interspersed between an external antenna and the receiver's antenna input.




