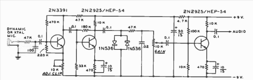
This amplifier avoids the over-modulation spikes of a dynamic or crystal microphone being connected to the input of a transmitter. Transistors support equivalents. The circuit is from a 1976 telecom publication. The gain adjustment is made in a pot.
This amplifier avoids the over-modulation spikes of a dynamic or crystal microphone being connected to the input of a transmitter. Transistors support equivalents. The circuit is from a 1976 telecom publication. The gain adjustment is made in a pot.