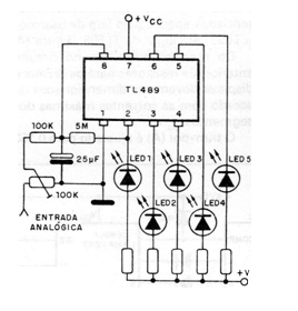
This circuit activates 5 LEDs according to the level of the analog input signal and can be used for several purposes, depending only on the type of transducer or analog input source.

This circuit activates 5 LEDs according to the level of the analog input signal and can be used for several purposes, depending only on the type of transducer or analog input source.
