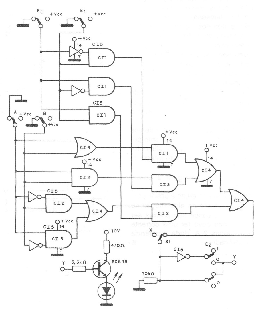
This circuit, which has a strong didactic appeal, simulates logical functions, and can be used in digital electronics classes. The circuit is from 1994 documentation and its output is an LED indicator or the possibility of applying the signal to an external circuit. The supply can be done with voltages from 6 to 12 V.





