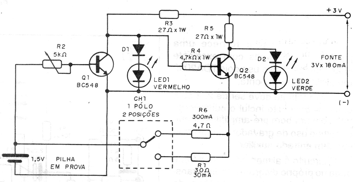
This simple battery tester uses two transistors to drive LEDs of different colors, indicating the status of common batteries type AA, C or D. The circuit is powered by an external source and performs the test under load. We found this circuit in an old documentation.




