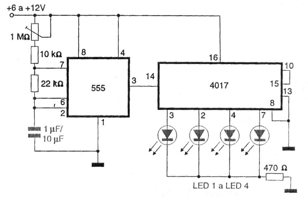
This system of sequential LEDs has its speed adjusted in a 1 M ohm potentiometer and this speed basically depends on the capacitor connected to pins 2 and 6 of the 555. The supply voltage of the circuit can be between 6 and 12 V and the resistor of 470 ohms determines the brightness of the LEDs.




