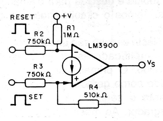
A simple bistable configuration can be obtained based on just one amplifier, as shown in the figure. This R-S flip-flop is obtained by feedback from the output to the non-inverting input.

A simple bistable configuration can be obtained based on just one amplifier, as shown in the figure. This R-S flip-flop is obtained by feedback from the output to the non-inverting input.
